問:實際安裝中立柱組撐杆有口對口的,有背靠背的。如何布置比較有利?
答:
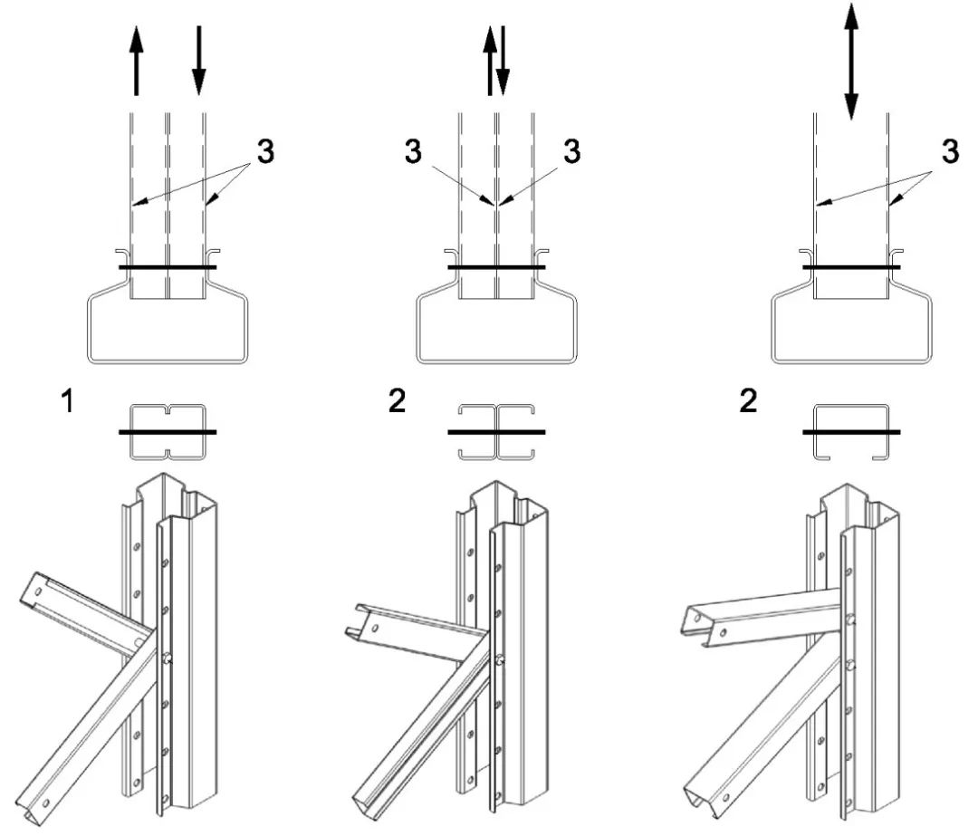
對於(yu) 第一個(ge) 問題,如下圖所示。
在沿立柱組平麵內(nei) 水平荷載作用下,立柱組上下相鄰的兩(liang) 根撐杆,一拉一壓。對於(yu) 口對口的情況,兩(liang) 個(ge) 力的作用點間距較大,力偶對立柱的扭轉效應明顯,從(cong) 而降低立柱的承載力。對於(yu) 背靠背的情況,兩(liang) 個(ge) 撐杆力作用點間距較小,對立柱的扭轉效應可忽略,因此比較有利。當采用撐杆不共節點時,扭轉效應消失,更有利,隻不過安裝工作增加了。
本站的原創文章,請轉載時務必注明出處:米兰竞技足球俱乐部官网WESAFE,不尊重原創的行為(wei) 我們(men) 將追究責任。